【項目周期】
2006年3月與東莞市規劃局簽訂電子報批軟件研發合同,進行詳細需求調研后對軟件進行研發,后對總平設計端軟件的使用進行了分批培訓。同年試行修建性詳規(商住區)電子報批試;并正式實施工業區修建性詳規實施電子報批管理和《建設工程規劃許可證》(商業、居住區部分)電子報批管理。2009年4月1日起,對所有建設項目報審總平面圖及辦理 《建設工程規劃許可證》實施電子報批管理。
【運行情況】
目前東莞市規劃局規劃電子報批系統運行良好,保證實現規范化電子申報建設項目的數字報建模式,實現數字報建的全過程規劃初審輔助支持,避免報建單位因對項目報建要求的理解偏差而與規劃局報建窗口之間的申報反復,進而推動建設項目電子化申報和審批的深入開展。經過試運行的多個方案后,市規劃局對本系統具有很高的認可度。
【系統模塊】
1.總平模塊
“總平模塊”主要用于各類用地要素如規劃用地、道路用地、公共綠地的定義與審核;建筑及其構件等屬性數據的定義與審核;車場車位的定義與審核;定性與定量,分項與綜合等設計規范自動檢測功能,如各類用地、建筑及其它規劃要素間的疊加沖突現象和設計偏差等失誤檢測,建筑間距檢測、配套設施檢測、車位復核檢測、公共綠地面積、日照檢測、紅線退讓檢測、平面可視化瀏覽檢測、三維方案可視化瀏覽等;綜合技術經濟指標表、用地平衡表、建筑統計表、車位統計表、公建統計表等的計算和統計;查驗容積率、綠地率、停車率、建筑密度等控制性參數的合理程度,對整體方案進行綜合評價,確定方案的可行性,并最終生成審核報告。
2.單體模塊
“單體模塊”主要為單體定義模塊與單體審核模塊兩部分。具體包括:制定建筑單體電子報批技術規定;建筑性質、屬性、面積、戶型等的定義與審核;具有各類面向對象的查詢統計功能,可生成單體性質、面積、戶型等各類統計報表;建筑單體的檢測功能,如:屬性檢測、重疊檢測、漏理檢測等;自動生成單體戶型、面積統計表、戶型分析表等。
3.方案入庫模塊:
根據入庫標準,以規劃局現有系統為基礎,實現電子報批的成果入庫,確保將各類實體附帶的信息準確無誤保存到數據庫中,實現高度的數據共享。
4.竣工驗收模塊:
“竣工驗收模塊”對通過報建審核的總平圖里導入完成定義的竣工圖,查看竣工建筑與相應報審建筑在建筑面積、高度和基底位置上的差別。
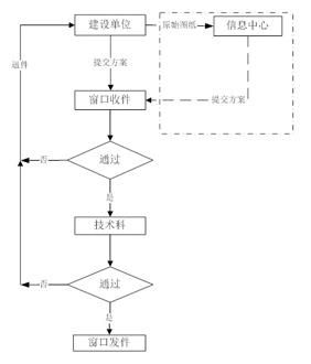
【報建流程】
